第一章 Patent Issues of Fan-Out Wafer-Level Packaging
1.1简介
在行业,研究所和大学中,有许多工程师,研究人员,学生和教授从事扇出晶圆级封装的工作。为了避免获得该领域的专利,他们正在尝试各种方法,例如die-up, die-down, die-first, die-last, RDL(redistribution layer)-first, RDL-last, mold-first, mold-last, round temporary carrier, and rectangular temporarycarrier.。在本章中,将研究扇出晶圆/面板级封装的专利问题。重点将放在授予专利的权利要求以及专利可能涵盖的范围内。根据RDL线宽/间距,检查了扇形晶圆/面板级包装的材料,工艺,设备和应用,并提出了一些建议。迄今为止,将最先提及对半导体封装影响最大的专利。
1.2 半导体封装的功能
图1.1显示了典型电子产品的内部。它由带有某些半导体集成电路(IC)芯片组件的印刷电路板(PCB)组成。IC芯片不是孤立的孤岛,它必须通过互连的输入/输出(I / O)系统与电路中的其他IC芯片进行通信。此外,IC芯片及其嵌入式电路非常脆弱,要求封装既要携带也要保护它。因此,半导体封装的主要功能例如是:
(1)为电流提供路径,该电流为IC芯片上的电路供电;
(2)将信号分配到IC芯片上以及从IC芯片上分配出去;
(3)消除IC芯片上电路产生的热量;
(4)支持和保护IC芯片免受恶劣环境的影响。

1.3 半导体封装水平
半导体封装是一门艺术(工程学),其基础是建立从[1]零级封装(即芯片级连接,引线键合,焊料凸点芯片和胶带自动键合)到第一级封装的互连的科学(例如,引线框,基板,成型件和单/多芯片模块)和第二级封装,即板级互连或PCB。图1.1示意性地示出了简单的半导体封装的横截面。可以看出,芯片A是在带有焊料球的有机基板上的焊料凸焊倒装芯片。芯片A的电路通过通孔,焊点穿过基板散开,然后到达PCB。通过遍历PCB上的Cu迹线,电路使焊点,引线框,引线键合向上移动,并到达芯片B。这就是电子产品的工作方式。
1.4 专利影响半导体封装
有许多重要的专利,例如焊料凸点的倒装芯片和影响半导体封装的硅通孔。但是,根据作者的观点,包含引线框,带有区域阵列焊球的有机基板,扇入式晶圆级封装和扇出式晶圆级封装(示意性显示在图1.2中)

1.4.1 Leadframe引线框
1967年7月17日,Jade Corporation的Kauffman [3]提出了一种使用带有端子(项目#18)的引线框架(参见图1.3中的项目14、16)将扇形电路从芯片上散开的方法(如图1.3所示的项目#20)连接至PCB。如今,几乎所有的电子产品都使用引线框架,例如鸥翼形引线(例如,塑料方形包装(PQFP)),J引线(例如,塑料引线芯片载体(PLCC))和/或双列直插式封装( DIP)将电路从芯片扇形展开至PCB(图1.4)。 PQFP的鸥翼式引线框的间距通常为0.4或0.5 mm,PLCC的J引线框的间距为1.27 mm,DIP的通孔引线框的间距为2.54 mm。在过去的近50年中,引线框架专利对半导体封装的影响最大。


四川省微电瑞芯科技有限公司,是一四川半导体设备,成都半导体设备,四川微组装设备,成都组装设备,四川实验室检测设备集成供应商。
主要设备:等离子清洗机、平行封焊机、气相清洗机、在线(离线)水基清洗机、FOUP清洗机、废水处理设备、粘片机、各种烘烤箱、烧结炉、真空气相焊、真空共晶炉、氦气检 漏仪、点胶设备等半导体微组装生产实验室设备。我们为西南地区,四川半导体厂家、成都半导体厂家、四川微组装厂家、成都微组装厂家、重庆半导体厂家、重庆微组装厂家提供了大量的设备及技术支持,详询:18980821008、19382102018(微信同号)
1.4.2 Organic Substrate with Solder Balls带有区域阵列焊球的有机基板
1992年3月2日,摩托罗拉的Paul Lin,MikeMcShane和Howard Wilson提出[4]使用带有区域阵列焊球(项目#26)的有机载体或基板(图1.5中的项目12)(而不是引线框)将电路(项目#22、30、33)从芯片(项目#18)(图1.5)散开到PCB,称为塑料球栅阵列(PBGA)封装。还参考图1.5,项目#22是引线键合,项目#32是将上布线层(项目#30)连接到下布线层(项目#33)的基板中的通孔。应当指出的是,1989年,摩托罗拉和《公民观察》发布了过模压焊盘阵列载体(OMPAC)封装,这是第一个PBGA。Amkor(1993)带领OSAT(外包的半导体组装和测试提供商)从摩托罗拉获得了这种封装技术的许可-BGA时代开始了。从那以后,在相关领域已获得了数百项专利,例如图1.6所示的有机基板上的焊料凸点倒装芯片。但是,它们是增量专利,而摩托罗拉的专利[4]是基本专利。与鸥翼式引线框架PQFP和J引线PLCC封装相比,带有有机基板和区域阵列焊球的PBGA封装的优点是

1.4.3 Fan-In Wafer-Level Packaging
1998年7月13日,flip芯片技术的PeterElenius和Harry Hollack提出[6]使用重新分配层(RDL)(图1.7中的项目30)从原始外围接合垫(项目)中扇入电路#18,20)的筹码(项目#10)在晶圆上(第14项)和焊球(第28项)(图1.7)连接到PCB上而没有填充。RDL(项目#30)将外围键合焊盘(项目#18、20)上的电触点(项目#32)连接到焊料凸点焊盘(项目#26)。可以在晶片(项目14)的芯片(项目10)内制造大型焊球(项目28)。如图1.8所示,消除了引线框,基板和底部填充。应当指出,扇形晶圆级封装(WLP)的概念是由倒装芯片技术[6、7和8]首次提出的。但是,该领域的知识已被许多其他人提到/展示过,例如三菱[9,10],马可克斯[11],桑迪亚[12],ShellCase[13],弗劳恩霍夫IZM [14,15],DiStefano[16] ]和EPIC[17]。扇入式WLP制作的封装称为晶圆级芯片规模封装(WLCSP),其中最著名的一种是由ip芯片技术开发并获得专利的UltraCSP [18]。 2001年,Amkor再次领导OSAT和铸造厂获得UltraCSP许可,WLP时代开始了。在过去的16年中,WLCSP主要用于低引脚数(200),其重新分配的焊盘间距范围为0.5、0.4、0.35和0.3 mm,小芯片尺寸(6 mm 6 mm),低成本 ,低端,低性能和大批量应用程序。半导体IC,例如静电放电/电磁干扰保护,射频(RF)滤波,电源管理,功率放大器,表面声波/体声波滤波器,DC / DC转换器,发光二极管,电池和显示驱动器,音频/视频代码和放大器,逻辑门,电可擦可编程只读存储器(EEPROM),微控制器,蓝牙+频率 调制(FM)+ Wi-Fi组合,全球定位系统(GPS),基带和射频收发器已与各种WLCSP封装在一起,用于各种电子产品,例如手机,智能手机和平板电脑以及可穿戴设备。对于物联网(IoT)[19],CMOS图像传感器和MEMS传感器也将与WLCSP封装在一起。与PBGA封装相比,WLCSP的优势在于:(1)成本更低,(2)成型件,(3)尺寸小,(4)结构简单,(5)重量轻,(6)组装步骤少,(7)电气性能更好 性能;以及(8)消除了基板,底纹和一个水平的晶圆凸块。到目前为止,扇入式WLP专利是半导体封装中影响力第三大的专利。



1.4.4 Fan-Out Wafer-Level Packaging
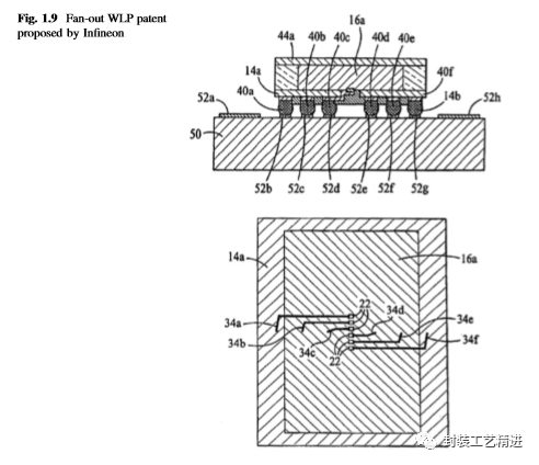
2001年10月31日,Infinion的HarryHedler,Thorsten Meyer和BarbaraVasquez提议[20]使用RDL(图1.9中的项目34a-f)将风扇扇出。从晶片上的芯片的金属焊盘(项目#16a)(项目#22a)和焊球(项目40a-f)到PCB上的金属焊盘(项目#52b-g)(项目50)的电路, 填充不足(图1.9)。一些RDL(项目#34a,34f)的一部分延伸超出(扇出)芯片(项目#16a)的边缘(项目#36a)。项目#26a是密封剂(模塑料)。项目#14a–b是介电层。应该指出的是,扇出WLP的概念是Infinone [20]首次提出的。尽管该技术的某些知识已经获得了通用电气[21,22]和EPIC [23]的专利,但是Infineon的专利[20]专门指出了使用RDL从金属焊盘上散开电路的方法。将晶片上的芯片和焊球连接到PCB上的金属焊盘上(图1.10)。 Infinon还特别指出,某些RDL的一部分延伸超出了芯片的边缘(呈扇形展开)。这些是[20]中的主要主张,GE和EPIC并未主张。英飞凌于2009年将其扇出WLP商业化,用于其无线基带SoC(片上系统),该功能具有LG手机的多种集成功能(GPS,FM无线电……)。自2010年以来,同一SoC也已在诺基亚手机中使用。从那时起,LG(无线基带),三星(基带调制解调器)和诺基亚(基带调制解调器和RF收发器)就在其手机和智能手机中使用了英飞凌的扇出WLP。Infinone的扇出WLP技术已获得ASE,STATSChipPAC,意法半导体和NANIUM(现为Amkor)的许可。
2011年,英特尔收购了Infinone的无线业务,其中包括扇出的WLP专利。英特尔使用扇出WLP技术将其RF IC(5毫米5毫米0.67毫米)与139个焊球以0.4毫米的间距封装在一起。扇出WLP优于具有焊料凸点ip芯片的fcPBGA封装的优点(图1.11)(1)成本更低,(2)轮廓更低,(3)消除了基板,(4)消除了晶片隆起,(5) 消除了倒装芯片的流焊;(6)消除了助焊剂的清洗;(7)消除了填充;(8)更好的电气性能;(9)更好的热性能;(10)便于系统级封装(SiP) )和3D IC包装[24]。与扇入WLP相比,扇出WLP的优势在于(图1.12)(1)使用已知的良好管芯(KGD);(2)晶圆级良率更高;(3)使用最好的硅,( 4)单芯片或多芯片;(5)嵌入式集成无源器件;(6)多层RDL;(7)引脚数更多;(8)更好的热性能;(9)更容易进行SiP和3D IC封装;以及 (10)更高的PCB级可靠性。扇出WLP可以实现扇入WLP的相同功能,例如用于低成本,低端,低性能,低引脚数,小尺寸和大批量应用。此外,扇出WLP可以完成PBGA的大部分工作,例如中端到高端微处理器,ASIC和存储器应用程序。但是,即使是扇出WLP也不是非常批量生产与扇入式WLP和PBGA相比的重要优势;它具有大幅增长的潜力。因此,作者认为扇出WLP是在不久的将来对半导体封装影响最大的四个。


1.5 Major Claims of Infineon’s Patent
Infinone专利[20]的主要主张是使用RDL将电路从芯片的金属焊盘和焊球散开到PCB上的金属焊盘。1.9和1.10。该公司[20]还声称,某些RDL的一部分延伸超出了芯片的边缘。事实上,Infinone [20]根本没有要求任何东西,例如,die-first or last, die-up or down, RDL-first or last, mold-firstor last, and reconfigured wafer or panel。这是一项“结构”专利。
想要了解跟多关于四川半导体设备厂家有哪些?四川半导体厂家、四川未组装厂家、四川实验室检测设备厂家、成都半导体厂家、成都微组装厂家、成都实验室检测设备厂家、四川半导体设备、成都半导体设备、四川微组装设备、成都微组装设备等信息,请加以下微信,邀您进半导体行业群

1.6 TSMC InFO-WLP
台积电的集成式扇出晶圆级封装(InFO-WLP)是最著名的扇出WLP之一。图1.13示意性地显示了InFO-WLP技术的典型过程[25-28]。它通过对器件晶圆的KGD测试开始。然后,通过具有物理气相沉积(PVD)的溅射(例如,Ti / Cu)来执行凸块下金属化(UBM),并且使用电镀来完成Cu接触垫(或柱)。这些步骤之后,在整个器件晶圆的顶部旋涂聚合物[例如,聚酰亚胺(PI),苯并环丁烯(BCB)或聚苯并双恶唑(PBO)],并在芯片的底部层压芯片连接膜(DAF)。整个器件晶圆。然后,将器件晶圆分割为单个管芯,图1.13a。如图1.13b所示,将单个的KGD放置(面朝上)在具有光热对话(LTHC)层的临时圆形载体(晶圆)上,然后分配EMC(环氧模塑料),压缩模制,然后在整个临时晶圆上使用KGD进行EMC的模后固化,以形成模制的重构晶圆(图1.13c)。接下来是对研磨后的晶片的EMC进行回磨,以暴露出铜接触垫(图1.13d),采用常规工艺[29]建立RDL(图1.13e),并安装焊球(图1.13)。 e。最后,移除临时晶圆(图1.13f),并将重新配置的晶圆分割为单个单元,然后我们采用InFO-WLP技术制成扇出封装。将图1.13f的横截面与图的。从1.9和1.10可以看出,它们是相似的,即RDL将电路扩展到芯片边缘以外。台积电(TSMC)一直在为应用处理器(AP)芯片组(移动DRAM + AP SoC)开发一种称为InFO-PoP的新型层叠封装(PoP)。就像台积电的CoWoS(晶圆上晶片)技术一样,他们称之为PoW(晶圆上封装)技术[30–32]。PoW表示将移动DRAM封装堆叠在AP InFO重新配置的晶片上,并且存储器封装与AP InFO封装之间的连接通过InFO-via(TIV)。台积电于2016年9月15日将采用FOWLP技术的AP的PoP投入量产。这非常重要,因为这意味着FOWLP不仅仅用于封装基带,电源管理IC,RF(射频)开关/收发器。RF雷达,音频编解码器,微控制器单元,连接性IC等,也可用于封装高性能和大型(> 120 mm2)SoC(片上系统),例如AP。有关台积电PoP的更多信息将在第8章中介绍。


1.7 Fraunhofer IZM FOPLP
在2015 IEEE / ECTC期间,Fraunhofer IZM提交了一篇论文[33],总结了其在扇出面板级封装(FOPLP)方面的三年发展。他们表明,利用表面贴装技术(SMT)设备来拾取和放置裸片以及集成无源器件(IPD)和PCB技术来制造RDL,他们能够以非常低的成本制造FOPLP(使用大面板来代替 用于低端,低引脚数,小芯片尺寸和大批量应用。典型的FraunhoferIZM FOPLP工艺流程如图1.14所示,完整的FraunhoferIZM FOPLP集成线如图1.15所示。可以看出,没有任何半导体铸造设备。他们的测试工具是标准的PCB尺寸(610 mm 457 mm)矩形面板,如图1.14所示。将图1.14的横截面与图1和图2的横截面进行比较。从1.9和1.10可以看出,它们几乎是相同的,即RDL将电路扩展到芯片边缘以外。更多Fraunhofer的FOPLP将在第9章中介绍。


1.8 Ball/Bump Pitch/Size of PBGA, fcPBGA,WLCSP, and FOWLP
图1.16显示了PBGA,fcPBGA,WLCSP和FOWLP的焊球/凸点间距/尺寸。可以看出,引线键合PBGA的焊球间距为1.27、1、0.8和0.65 mm。fcPBGA的焊球间距为1.27、1、0.8、0.65、0.5和0.4毫米。引线键合PBGA和fcPBGA有所不同。WLCSP的焊料凸点间距为0.5、0.4、0.35和0.3 mm,对于0.3 mm的间距,WLCSP的焊料凸点尺寸为0.15 mm。FOWLP的焊球间距和尺寸尚无标准。但是,建议FOWLP的焊球间距为0.5、0.4、0.35和0.3mm。FOWLP的焊球尺寸为0.37毫米间距为0.17毫米,0.35毫米间距为0.225毫米,0.4毫米间距为0.25毫米,0.5毫米间距为0.3毫米。

1.9 Summary and Recommendations
已经研究了嵌入式扇出晶圆级封装的专利问题。一些重要的结果和建议如下:迄今为止,对半导体封装行业影响最大的专利是(1)引线框[3],(2)带有区域阵列焊球的有机基板[4],(3) 扇入WLP [6]和(4)扇出WLP [20]。

